01
钙是维护生命和健康所必需的
钙是维持生命和健康所必需的一种矿物元素,也是人体内含量最多的无机元素,占人体体重的1.5%-2%。99%的钙与磷结合集中在骨骼和牙齿上,另外一小部分钙存在于机体的软组织和血液中。
钙是维护生命和健康所必需的,是宝宝正常生长发育所必需的。
钙在机体各种生理学和生物化学过程中起着重要作用,摄入不足或者缺乏,就会对宝宝正常的生长发育带来影响。因此,必须保证营养的充足摄入。
02
不同年龄对钙的需要量不同
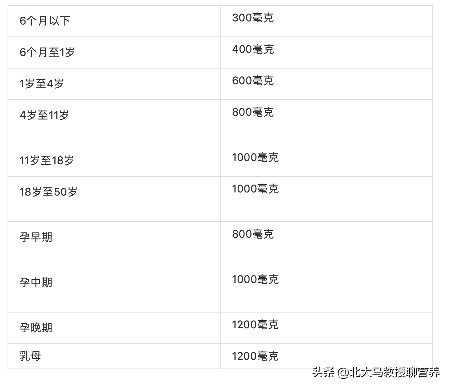
人体在不同年龄、不同生理时期对钙的需要量不同。
《中国居民膳食营养素参考摄入量》中建议每人每天钙的适宜量:
03
孕妇、乳母要注意钙的充足摄入
在孕中期、孕末期,宝宝对钙的需要量明显增加,而宝宝需要的全部营养,包括钙都是由妈妈提供的。因此,孕妇钙需要量明显增加。
宝宝出生以后,生长发育所需要的营养都来自于母乳。如果妈妈膳食中钙摄入量不能满足需要,妈妈骨骼中的钙将被动用来维持乳汁钙含量的稳定,妈妈因缺钙易患骨质软化症,出现腰酸腿痛、肌肉痉挛等症状。
为保证乳汁中钙含量的稳定及母体的钙平衡及后续骨健康,宝妈应增加钙摄入量。从孕中期开始,每天至少应喝250毫升牛奶或相当量的奶制品及补充300毫克的钙,或喝450毫升至500毫升低脂牛奶。
04
6个月内婴儿不需额外补钙
宝宝出生后,就应该用母乳喂养!母乳是婴儿最理想的天然食物,提倡纯母乳喂养6个月。
母乳中钙含量丰富,进行母乳喂养,一般不会出现钙的缺乏。因此,正常足月的婴儿出生后头6个月不用额外补钙。
母乳中含的营养物质齐全、比例合理,且含有多种免疫活性物质。纯母乳喂养能满足6个月以内婴儿所需要的全部液体、能量和营养素。因此,正常足月新生儿出生后6个月内一般不用补充钙剂。
05
宝宝出生后需要补充维生素D
维生素D也是维护生命和健康、保证宝宝正常生长发育所必需的一种营养素。维生素D在体内发挥着诸多的生理功能,摄入不足或者缺乏会影响宝宝正常的生长发育。
由于母乳中维生素D含量较低,在北方寒冷的冬春季或南方的梅雨季节,宝宝到户外沐浴阳光的时间少,单纯靠母乳喂养不能满足婴儿对维生素D的需要,容易发生维生素D缺乏。
因此,婴儿从出生开始,应当在医生指导下每天补充维生素D400-800国际单位。
— End —
编辑 | 马博士健康团 冯琦
图片 | 自摄图网及网络




